ケーブルクランプ付ミニコネクタ STPW-CC シリーズ
熱電対の接続トラブルを防ぐ「ケーブルクランプ付きミニプラグコネクタ」
クランプ付きコネクターは熱電対線や補償導線の捻じれを強力に防止する為、コネクター接続部分の断線確率を大幅に軽減することが可能です。
書き込み欄付き。
■K熱電対用(黄色):オス型/メス型
■T熱電対用(青色):オス型/メス型
■ミニコネクタ対応機種に接続可能
大量注文もお任せ!3万円以上で送料無料!お見積りはお気軽にお問い合わせください!
ミニコネクタ対応機種例
仕様
| 型式 | STPW-CC-K-M | STPW-CC-K-F | STPW-CC-T-M | STPW-CC-T-F |
|---|---|---|---|---|
| 熱電対タイプ | K熱 | T熱 | ||
| 極性 | オス | メス | オス | メス |
| 色 | 黄色 | 青色 | ||
| 使用合金 | (+脚) クロメル /(-脚) アルメル | (+脚) 銅 /(-脚)コンスタンタン | ||
| 筐体材質 | ガラス充填ナイロン | |||
| 耐熱温度 | 180℃ | |||
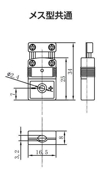
寸法図


こちらの製品もいかがですか?- 関連製品 -
オメガ 熱電対ミニコネクタ用パネルジャック MPJシリーズ
ミニコネクタを複数管理できるパネル取付けタイプの熱電対コネクタ。 熱電対や補償導線とミニコネクタを接続するのに最適な設計がされています。 標準サイズ用コネクタのSPJに比べ、設置面積約半分の省スペ…
被覆熱電対 K熱電対 100m
被覆熱電対 K熱電対で長さ100mが標準。 10m単位で切り売り可能です。(※素線径0.1mmは切り売り不可) 耐熱温度:ビニール被覆 80℃ | ガラス被覆 200℃ | フッ素樹脂被覆 200…
T熱電対100m ビニル被覆 素線径 0.1/0.2/0.32/0.65mm
長尺の耐熱ビニル被覆T熱電対線。 T熱電対は133℃未満の測定において、熱電対種の中で最も優れた精度を発揮します。 長さ:100m 耐熱温度:80℃ 被覆材質:耐熱ビニル
T熱オメガミニコネクタ SMPW-T-M(オス) / SMPW-T-F(メス)
T熱電対用のオメガ社製ミニチュアコネクタ。 書き込み用小窓付きタイプ。 単線又は、20AWGまでの撚り線仕様可能。 ミニコネクター対応機種に接続可能。
K熱オメガミニコネクタ SMPW-K-M(オス) / SMPW-K-F(メス)
K熱電対用のオメガ社製ミニチュアコネクタ。 書き込み用小窓付きタイプ。 単線又は、20AWGまでの撚り線仕様可能。 ミニコネクター対応機種に接続可能。







